Описание
Информация для заказа
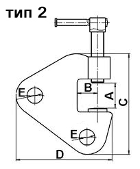
Струбцины являются универсальным инструментом для подъема, перемещения и кантования изделий. Винтовая передача позволяет создавать значительное усилие сжатия, необходимое для монтажа, кантования, правки изделий. Следует учитывать, что в случае подъема изделий в вертикальном положении грузоподъемность струбцины необходимо уменьшать в 5 раз. При перемещении изделий в горизонтальном положении используется исключительно монтажная струбцина тип2. Возможна дополнительная комплектация скобой(оговаривается при заказе).


| Технические характеристики |
|
Обозначение
|
Создаваемое усилие, т
|
Размер, мм
|
Вес захвата, кг
|
||||
|
А
|
B
|
C
|
D
|
E
|
|||
|
МС-1,0
|
1
|
40
|
35
|
210
|
190
|
20
|
4
|
|
МС-2,0
|
2
|
40
|
35
|
210
|
190
|
20
|
6
|
|
МС-3,0
|
3
|
52
|
70
|
280
|
240
|
20
|
7
|
|
МС-5,0
|
5
|
52
|
70
|
280
|
240
|
20
|
10
|
|
МС-7,5
|
7,5
|
80
|
65
|
320
|
310
|
50
|
25
|
- Цена: Цену уточняйте

